الأقراص القابلة للطباعة
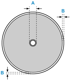
تمتد منطقة الطباعة الخاصة بالقرص القابل للطباعة من 17 مم (0.67 بوصة) من القطر الداخلي إلى 1 مم (0.04 بوصة) من القطر الخارجي لسطح الطباعة.

المنطقة القابلة للطباعة
- A: 17.0 مم (0.67 بوصة)
- B: 1.0 مم (0.04 بوصة)

S114
تمتد منطقة الطباعة الخاصة بالقرص القابل للطباعة من 17 مم (0.67 بوصة) من القطر الداخلي إلى 1 مم (0.04 بوصة) من القطر الخارجي لسطح الطباعة.

المنطقة القابلة للطباعة